-
INSTEC 微型线轨探针冷热台 HCP421V-MP
HCP421V-MP可单独使用,也可搭配显微镜/光谱仪使用。其可在 -190℃ ~ 400℃ 范围内控温,同时允许探针电测试、光学观察和样品气体环境控制。探针台上盖与底壳构成一个可抽真空的密封腔,亦可内充入氮气等保护气体,来防止样品在负温下结霜,或高温下氧化。
您目前所在的位置:首页 > 产品 > INSTEC 冷热台
特点与优势- 迷你温控探针台,可用于 显微镜/光谱仪
- -190℃~400℃ 可编程控温(负温需配液氮制冷系统)
- 直径26 mm加热区
- 可抽真空的腔体,亦可充入保护气体使用
- 模块化设计,可自由组合
- 可从温控器或电脑软件控制,可提供软件SDK
- SMA接头转BNC四探针,手动点针
*可做定制或改动,详询上海恒商
- 独立的四个探针,可从设备外部移动探针进行点针
|
温度范围 |
-190℃ ~ 400℃(负温需配液氮制冷系统) |
|
传感器/温控方式 |
100Ω铂RTD / PID控制(含LVDC降噪电源) |
|
最大加热/制冷速度 |
30℃/min |
|
最小加热/制冷速度 |
±0.01℃/min |
|
温度分辨率 |
0.01℃ |
|
温度稳定性 |
±0.05℃(>25℃),±0.1℃(<25℃) |
|
软件功能 |
可设温控速率,可设温控程序,可记录温控曲线 |
|
探针 |
默认为铼钨材质的弯针探针 *可选其他种类探针 |
|
探针座 |
线性导轨底座结合杠杆式探针支架,移动灵活,点针力度更大,电接触性更好 |
|
点针 |
手动点针,每个探针座都可点到样品区上任意位置 |
|
探针接口 |
默认为SMA接头转BNC *可增设腔内接线柱(样品接电引线) |
|
样品台面电位 |
默认为电接地,可选电悬空(作背电极),可选三同轴接口 |
|
非磁性改造 |
台体可改用非磁性材质制造,用于变温霍尔效应探针测试 |
|
适用光路 |
反射光路 *另有透射光路型号 |
![]() |
|
窗片 |
可拆卸与更替的窗片 |
|
|
最小物镜工作距离 |
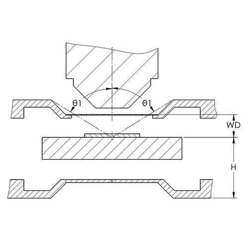
8 mm *截面图中WD |
|
|
透光孔 |
台面默认无通光孔,可增设通光孔以支持透射光路 |
|
|
上盖窗片观察 |
窗片范围φ27mm,最大视角±45° *截面图中θ1 |
|
|
负温下窗片除霜 |
吹气除霜管路 |
|
加热区/样品区 |
直径26 mm |
|
样品腔高 |
5.4 mm *样品最大厚度由探针决定 |
|
放样 |
打开上盖后置入样品再点针,关上盖后无法移动探针 |
|
气氛控制 |
可抽真空的腔体,亦可充入保护气体使用 |
|
外壳冷却 |
可通循环水,以维持外壳温度在常温附近 |
|
安装方式 |
水平安装 或 垂直安装 |
|
台体尺寸/重量 |
250 mm x 180 mm x 55 mm / 2400g |
- 基本配置 HCP421V-MP温控探针台、mK2000B温控器
- 可选配件 液氮制冷泵、循环水机、安装支架、测试源表、真空系统、电化学工作站、台面电悬空、样品接电引线




